Gilera Nexus 500 - duky5
Moderátor: Moderators
- mucow
- motorkár

- Príspevky: 1711
- Dátum registrácie: Št Aug 19, 2010 9:13 am
- Skúter: Aprilia Leonardo 150; Suzuki DR 600 S
- Bydlisko: Jaklovce okr.Gelnica
- Kontaktovať užívateľa:
Re: Gilera Nexus 500 - duky5
Pri miešaní je dôležité, na akej báze je ta kvapalina, takú istú tam treba dať.
Ale môj názor je taký, že kvôli tým cca trom dcl čo sú v nádržke to nemá zmysel ťahať von a dolievať novú. Kašli na to vymeníš ju keď budeš niečo robiť. Nič sa tomu nestane.
Ale môj názor je taký, že kvôli tým cca trom dcl čo sú v nádržke to nemá zmysel ťahať von a dolievať novú. Kašli na to vymeníš ju keď budeš niečo robiť. Nič sa tomu nestane.
Spoiler: ukázať
- Bobo
- st. skútrista

- Príspevky: 573
- Dátum registrácie: Št Máj 03, 2007 2:29 pm
- Skúter: BMW R 1200 RT
- Bydlisko: MA (teda skôr okolie)
Re: Gilera Nexus 500 - duky5
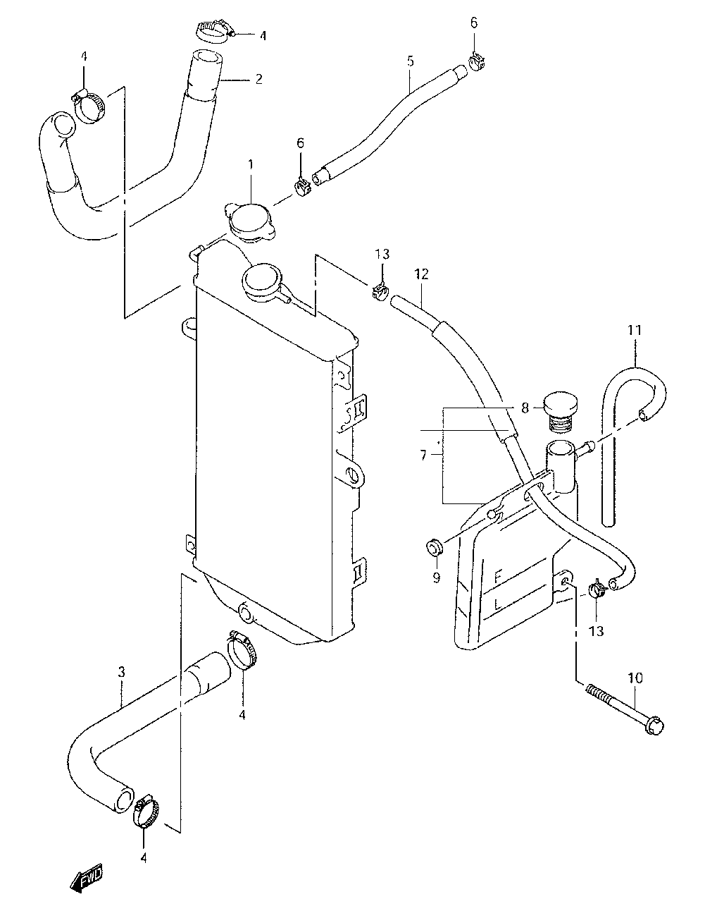
Neviem, ako máš robenú expanzku ty, ale mne by sa to nepremiešalo. Mne ide totiž do expanzky len jedna hadička od zátky chladiča a nič sa v nej nepremiešava, ale sa len vyrovnáva rozťažnosť kvapaliny. Je to robené ináč ako na aute, kde by sa to bez problévov premiešalo, pretože tam je uzatvorený okruh. Preto sa u mňa nedolieva pri výmene do expanzky, ale priamo cez zátku do chladiča. Treba si to poriadne obzrieť.duky5 napísal:co hovorite na to vycucnutie nadobky, tam by malo byt aj tak najviac kvapalniny a ked to vymenim, prudenim sa to same premiesa nie?
- Prílohy
-
- microf_radiator_hose.gif
- (19.44 KiB) 137 stiahnutí
KYMCO XC 250, SUZUKI Burgman 650, BMW R 1200 RT
- VLADY
- spammer

- Príspevky: 10675
- Dátum registrácie: St Apr 12, 2006 4:38 pm
- Skúter: A ja mám lepší...a väčší...Burger...400vku...
- Bydlisko: Najväčšia Slovenská dedina
Re: Gilera Nexus 500 - duky5
Duky kašli na to... dôležitá je tá v motore a nie v expanzke ...takže buď to celé vymeň alebo nechaj celé tak ako je...A miešať dačo...čo vieš čo tam je origo? dajaká Selenia alebo Tutella či čo to majú Taliáni za svoju značku....
Moje príspevky zvyčajne vyjadrujú: Mój nazor skromny...osobny!
A ak neviem poradiť-tak Vás aspoň popletiem.
A ak neviem poradiť-tak Vás aspoň popletiem.
- duky5
- motorkár

- Príspevky: 3308
- Dátum registrácie: Št Sep 21, 2006 3:20 pm
- Skúter: Gilera Nexus 500 mk2
- Bydlisko: Bratislava
Re: Gilera Nexus 500 - duky5
u mna to bude asi podobne.
v manualy je napisane, ze mam vypustit spodnym otvorom napln, naplnit novu, pustit motor a dat hadicku na odvzdusnovaci otvor, pockat kym tade pojde voda, vypnut motor, doliat kvapalinu po rysku.
len neviem kde hladat ten odvzdusnovaci otvor, podla fotky v manualy to neviem najst...

v manualy je napisane, ze mam vypustit spodnym otvorom napln, naplnit novu, pustit motor a dat hadicku na odvzdusnovaci otvor, pockat kym tade pojde voda, vypnut motor, doliat kvapalinu po rysku.
len neviem kde hladat ten odvzdusnovaci otvor, podla fotky v manualy to neviem najst...

- Bobo
- st. skútrista

- Príspevky: 573
- Dátum registrácie: Št Máj 03, 2007 2:29 pm
- Skúter: BMW R 1200 RT
- Bydlisko: MA (teda skôr okolie)
Re: Gilera Nexus 500 - duky5
Asi to bude táhadička hore vľavo na expanzke
KYMCO XC 250, SUZUKI Burgman 650, BMW R 1200 RT
- duky5
- motorkár

- Príspevky: 3308
- Dátum registrácie: Št Sep 21, 2006 3:20 pm
- Skúter: Gilera Nexus 500 mk2
- Bydlisko: Bratislava
Re: Gilera Nexus 500 - duky5
Podľa fotky v manuály je ten otvor na niečom kovovom, pravdepodobne niekde na chladiči, len neviem identifikovať miesto bez otvorenia skútra...
vlavo je ta hadicka a odvzdusnovacom otvore, vpravo ide hadica z expanznej nadobky, neviem preco...

vlavo je ta hadicka a odvzdusnovacom otvore, vpravo ide hadica z expanznej nadobky, neviem preco...

- duky5
- motorkár

- Príspevky: 3308
- Dátum registrácie: Št Sep 21, 2006 3:20 pm
- Skúter: Gilera Nexus 500 mk2
- Bydlisko: Bratislava
Re: Gilera Nexus 500 - duky5
bola tam cervena, asi agip ktoru doporucuje gilera a v servise v gyori som si dal pred 2 rokmi menit kvapalinu a dali tiez cervenu, znacku uz neviem...cervena by mala byt g12, tu mam teraz kupenu.VLADY napísal:Duky kašli na to... dôležitá je tá v motore a nie v expanzke ...takže buď to celé vymeň alebo nechaj celé tak ako je...A miešať dačo...čo vieš čo tam je origo? dajaká Selenia alebo Tutella či čo to majú Taliáni za svoju značku....
viem ze vtedy mali s menenim nejaky problem, tyzden mi smrdel skuter z toho ako sa im niekde vyliala ta kvapalina.
necham to teda asi na servis....BTW to preplachnutie je dolezite? nestaci vyliat a naliat ked je ta kvapalina pekna cira?
- Bobo
- st. skútrista

- Príspevky: 573
- Dátum registrácie: Št Máj 03, 2007 2:29 pm
- Skúter: BMW R 1200 RT
- Bydlisko: MA (teda skôr okolie)
Re: Gilera Nexus 500 - duky5
Duky, tá hadička vľavo nie je na chladiči, ale na hlave valca. Pod ňou je vidno sviečku. A na tom obrázku napravo je asi druhý koniec hadičky zavedený do expanzky, aby to netieklo kdekade po zemi. Alebo je tak doplňovaná chladiaca do expanzky.
KYMCO XC 250, SUZUKI Burgman 650, BMW R 1200 RT
- Davidian
- moderátor

- Príspevky: 4571
- Dátum registrácie: Ne Máj 09, 2010 11:17 am
- Skúter: Aprilia SR50R - DERBI GP1 125
- Bydlisko: Bratislava - Staré Mesto
- Kontaktovať užívateľa:
Re: Gilera Nexus 500 - duky5
podla mna staci vymenit, ked vravis, ze by bola pekna a cira. to preplachnutie ma vyznam skor, pri starsom, resp nie velmi udrziavanom stroji, co si myslim, veru Tvoj pripad nie je, resp by som to mozno robil tak kazdu tretiu vymenu, ak nie je na to padny dovod..(okrem toho: pre istotu a dobry pocit)duky5 napísal:..necham to teda asi na servis....BTW to preplachnutie je dolezite? nestaci vyliat a naliat ked je ta kvapalina pekna cira?
- duky5
- motorkár

- Príspevky: 3308
- Dátum registrácie: Št Sep 21, 2006 3:20 pm
- Skúter: Gilera Nexus 500 mk2
- Bydlisko: Bratislava
Re: Gilera Nexus 500 - duky5
asi mas pravdu, vdakaBobo napísal:Duky, tá hadička vľavo nie je na chladiči, ale na hlave valca. Pod ňou je vidno sviečku. A na tom obrázku napravo je asi druhý koniec hadičky zavedený do expanzky, aby to netieklo kdekade po zemi. Alebo je tak doplňovaná chladiaca do expanzky.
- VLADY
- spammer

- Príspevky: 10675
- Dátum registrácie: St Apr 12, 2006 4:38 pm
- Skúter: A ja mám lepší...a väčší...Burger...400vku...
- Bydlisko: Najväčšia Slovenská dedina
Re: Gilera Nexus 500 - duky5
Takže zdieľam tento názor aj ja...takže máš to potvrdené už od dvoch šikovných mechošov....
Akurát že spraviť si to už budeš musieť sám...ako už istotne veľakrát predtým.....

A preplach je dobrý ak nevieš čo tam bolo predtým...ak vieš a leješ to isté tak samozrejme netreba...
Akurát že spraviť si to už budeš musieť sám...ako už istotne veľakrát predtým.....
A preplach je dobrý ak nevieš čo tam bolo predtým...ak vieš a leješ to isté tak samozrejme netreba...
Moje príspevky zvyčajne vyjadrujú: Mój nazor skromny...osobny!
A ak neviem poradiť-tak Vás aspoň popletiem.
A ak neviem poradiť-tak Vás aspoň popletiem.
- duky5
- motorkár

- Príspevky: 3308
- Dátum registrácie: Št Sep 21, 2006 3:20 pm
- Skúter: Gilera Nexus 500 mk2
- Bydlisko: Bratislava
Re: Gilera Nexus 500 - duky5
diky chlopke, uz budem mat pomaly vsetko pokope na servis 
- marecek239
- st. kolobežkár

- Príspevky: 142
- Dátum registrácie: Ut Aug 18, 2009 11:00 pm
- Skúter: momentalne ziadny :(
- Bydlisko: 99% som v Bratislave, ale som z Radošiny
Re: Gilera Nexus 500 - duky5
duky ta motodraha je v Dunajskej Strede?? maju nejaku stranku? kolko to tam stoji na hodinu?? treba sa tam objednat alebo ako??
diki za info...alebo keby ides tak sa hned pridam, tiez chcem poskusat to klopenie aby som si bol v zakrutach istejsi, a ja mam len bocny stojan tak uvidim
diki za info...alebo keby ides tak sa hned pridam, tiez chcem poskusat to klopenie aby som si bol v zakrutach istejsi, a ja mam len bocny stojan tak uvidim
podpis som si este nenastavil
- duky5
- motorkár

- Príspevky: 3308
- Dátum registrácie: Št Sep 21, 2006 3:20 pm
- Skúter: Gilera Nexus 500 mk2
- Bydlisko: Bratislava
Re: Gilera Nexus 500 - duky5
Jj ds. Platí sa 20e na vstup a môžeš tam byť od doobedia do večera tuším do piatej šiestej cez týždeň...jazdia tam vtedy autoškoly.
Cez víkend tam bývajú preteky a motokáry...
Cez víkend tam bývajú preteky a motokáry...
- duky5
- motorkár

- Príspevky: 3308
- Dátum registrácie: Št Sep 21, 2006 3:20 pm
- Skúter: Gilera Nexus 500 mk2
- Bydlisko: Bratislava
Re: Gilera Nexus 500 - duky5
tak zadna guma je doma, za 90e, Dunlop GPR100. ine znacky stali 105-115e.
som zvedavy na vydrz, ak vydrzi rovnako ako bridgestone 10-11 tisic km, tak pojdem naspat do originalov mischelin pilot sport sc. inak taliani si ju dost chvalia, uvidime.
dezen sa mi celkom paci, podobny ako ma bridgestone, zda sa mi celkom hruby. bral som iba zadnu, predna je este dobra a navyse predna dunlop sa mi nejak nepaci...zda sa mi ze vdaka tej drazke sa skoro opotrebuje...

BTW zda sa mi to, alebo mi niekto premenoval temu?
som zvedavy na vydrz, ak vydrzi rovnako ako bridgestone 10-11 tisic km, tak pojdem naspat do originalov mischelin pilot sport sc. inak taliani si ju dost chvalia, uvidime.
dezen sa mi celkom paci, podobny ako ma bridgestone, zda sa mi celkom hruby. bral som iba zadnu, predna je este dobra a navyse predna dunlop sa mi nejak nepaci...zda sa mi ze vdaka tej drazke sa skoro opotrebuje...

BTW zda sa mi to, alebo mi niekto premenoval temu?
-
TomasARN
- moderátor

- Príspevky: 6105
- Dátum registrácie: Ne Júl 29, 2007 11:35 am
- Skúter: Kawasaki ER-6n, 2009
- Bydlisko: Bratislava, S 48.196.08° V 17.028.10°
- Kontaktovať užívateľa:
Re: Gilera Nexus 500 - duky5
No pozeram aj ja, ze ti niekto premenoval temu. Ale uz povodne nemala moc aktualny nazov
- duky5
- motorkár

- Príspevky: 3308
- Dátum registrácie: Št Sep 21, 2006 3:20 pm
- Skúter: Gilera Nexus 500 mk2
- Bydlisko: Bratislava
Re: Gilera Nexus 500 - duky5
Myslím že som mal názov gilera nexus 500 po xx xxx km a x som menil podľa stavu tachometra a servisného intervalu.
Musel to niekto meniť behom týždňa dvoch
Musel to niekto meniť behom týždňa dvoch
- Davidian
- moderátor

- Príspevky: 4571
- Dátum registrácie: Ne Máj 09, 2010 11:17 am
- Skúter: Aprilia SR50R - DERBI GP1 125
- Bydlisko: Bratislava - Staré Mesto
- Kontaktovať užívateľa:
Re: Gilera Nexus 500 - duky5
Ozaj duky, a dake videjko s dx kamerou uz je na svete? Aj nexika prezuteho by si mohol cvaknut zas dakedy..
..odoslané, odosladké..
..odoslané, odosladké..
- duky5
- motorkár

- Príspevky: 3308
- Dátum registrácie: Št Sep 21, 2006 3:20 pm
- Skúter: Gilera Nexus 500 mk2
- Bydlisko: Bratislava
Re: Gilera Nexus 500 - duky5
Video je, nemám ho zatiaľ v čom upraviť, skrátiť. Je to mov a žiadny program mi ho nechce importovať, video je dole hlavou, treba ho otročiť 
Stará guma ešte vydrží jednu dve alpovačky, prezujem až o mesiac pred gg.
čaká ma veľký servis, už by bol dávno hotový, keby som 3 týždne nečakal na valčeky a remeň od due fratelli a ložisko krku riadenia od Motogroup 10 dní (dúfam že to dodržia). Základné spotrebné veci a servis takéto veci nemá skladom, to je možné len u nás.
Stará guma ešte vydrží jednu dve alpovačky, prezujem až o mesiac pred gg.
čaká ma veľký servis, už by bol dávno hotový, keby som 3 týždne nečakal na valčeky a remeň od due fratelli a ložisko krku riadenia od Motogroup 10 dní (dúfam že to dodržia). Základné spotrebné veci a servis takéto veci nemá skladom, to je možné len u nás.
- Bobo
- st. skútrista

- Príspevky: 573
- Dátum registrácie: Št Máj 03, 2007 2:29 pm
- Skúter: BMW R 1200 RT
- Bydlisko: MA (teda skôr okolie)
Re: Gilera Nexus 500 - duky5
Presne tie gumy som obul na Burgoša. Dnes je na nich 4500 km a opotrebebie vpredu nebadateľné, vzadu veľmi malé. Predpokladám, že ešte zadok vydrží cca 10 000. Oproti originál Bridgestonom TH 01 sa mi zdajú lepšie z pohľadu opotrebenia aj jazdných vlastností. A burgoš je asi ťažší ako Nexus.
KYMCO XC 250, SUZUKI Burgman 650, BMW R 1200 RT
- duky5
- motorkár

- Príspevky: 3308
- Dátum registrácie: Št Sep 21, 2006 3:20 pm
- Skúter: Gilera Nexus 500 mk2
- Bydlisko: Bratislava
Re: Gilera Nexus 500 - duky5
dik za odozvu 
uvidime, ak mi zadna vydrzi 15 000, bude to stred medzi bridgestone 11 000 km a mischelin 21 000 km
taliani si ich chvalia, ale oni su schopni zodrat bridgestony za 6 000 km, co nechapem, asi za to moze tuning
inak tie dunlopy maju tento rok nastupcu, dunlop ScootSmart.
bridgestony zase model SC 1.
ja len cakam kedy bude konecne na skuter 2 zlozkova zmes, teda stred tvrdsi a boky maksie...
uvidime, ak mi zadna vydrzi 15 000, bude to stred medzi bridgestone 11 000 km a mischelin 21 000 km
taliani si ich chvalia, ale oni su schopni zodrat bridgestony za 6 000 km, co nechapem, asi za to moze tuning
inak tie dunlopy maju tento rok nastupcu, dunlop ScootSmart.
bridgestony zase model SC 1.
ja len cakam kedy bude konecne na skuter 2 zlozkova zmes, teda stred tvrdsi a boky maksie...
- Bobo
- st. skútrista

- Príspevky: 573
- Dátum registrácie: Št Máj 03, 2007 2:29 pm
- Skúter: BMW R 1200 RT
- Bydlisko: MA (teda skôr okolie)
Re: Gilera Nexus 500 - duky5
Dvojzmesové gumy by sa určite na maxíka hodili. Zháňal som všade možne, ale nič som nenašiel. Škoda, musíme čakať...
KYMCO XC 250, SUZUKI Burgman 650, BMW R 1200 RT
- THeBaNDiT
- moderátor

- Príspevky: 6299
- Dátum registrácie: Ut Aug 08, 2006 8:23 am
- Skúter: je už minulosť
- Bydlisko: Bardejov
- Kontaktovať užívateľa:
Re: Gilera Nexus 500 - duky5
nazov bol zmeneny 15. aprila t.r., ja som to nebol (ani som o tom nevedel). Je to zmenene podla toho, ako sa volaju temy v sekcii Vase skutre, i ked ako vidime, tvoja tema sa nachadza v sekcii Clanky a recenzie (Maxi skutre)duky5 napísal:Myslím že som mal názov gilera nexus 500 po xx xxx km a x som menil podľa stavu tachometra a servisného intervalu.
Musel to niekto meniť behom týždňa dvoch
Mne vzadu povodny Bridgestone vydrzal 20tisic km (po kontrolne body), a vpredu 30tisic km (po kontrolne body). Prezul som opat na rovnake Bridgestonky, nie je dovod skusat ine...
- Davidian
- moderátor

- Príspevky: 4571
- Dátum registrácie: Ne Máj 09, 2010 11:17 am
- Skúter: Aprilia SR50R - DERBI GP1 125
- Bydlisko: Bratislava - Staré Mesto
- Kontaktovať užívateľa:
Re: Gilera Nexus 500 - duky5
Nazov temy si mozes, ak to uznas za vhodne zmenit upravenim prveho prispevku...
..odoslané, odosladké..
..odoslané, odosladké..
-
TomasARN
- moderátor

- Príspevky: 6105
- Dátum registrácie: Ne Júl 29, 2007 11:35 am
- Skúter: Kawasaki ER-6n, 2009
- Bydlisko: Bratislava, S 48.196.08° V 17.028.10°
- Kontaktovať užívateľa:
Re: Gilera Nexus 500 - duky5
A co tak temu dat do sekcie vase skutre.
Ozaj skoda, ze pre skutre nie je dvojzlozkova pneu. Taka ako mam ja je uplne super (na moto) M PR 2 a M PR 3
Ozaj skoda, ze pre skutre nie je dvojzlozkova pneu. Taka ako mam ja je uplne super (na moto) M PR 2 a M PR 3


